Описание
Характеристики
Отзывы
Описание
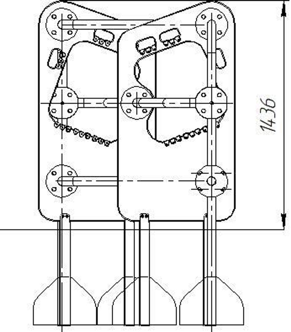
Оборудование уличное представляет собой устойчивую конструкцию, обеспечивающую безопасные условия для развивающих занятий на открытом воздухе.Конструкция обладает высокой ударопрочностью и виброустойчивостью. Во избежание травм и застревания одежды и частей тела, изделие разработано и изготовлено в соответствии с требованиями ГОСТ Р 52169-2012.Комплекс выполнен в виде металлических стоек из 057 трубы, фанеры, скрепленных между собой сферами.
Характеристики
Высота, (мм)
h=1436
Гарантия
1
Материал
фанера
Высота падения, мм
1315
Возрастная группа, лет
4-12
Серия
сфера
Габаритные размеры, мм
a=1240, b=2350
Зона безопасности, мм
5350х4220
Отзывы
Отзывов еще никто не оставлял
